关于绿能
服务热线
0577-57157777
|
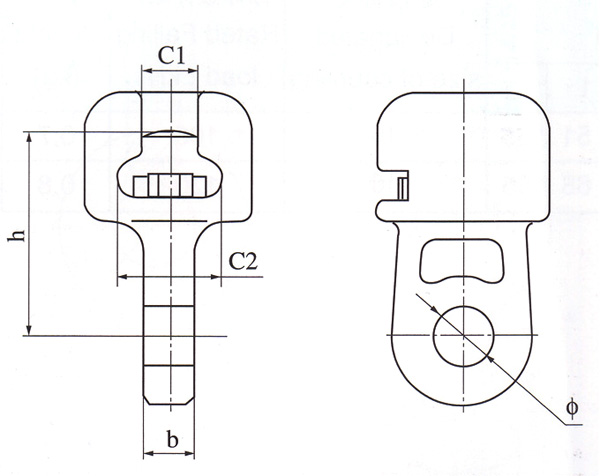
型号 Catalog No. |
主要尺寸Dimensions(mm) |
连接标记 Designated size of coupling |
标称破坏载荷 Rated Failing load (kN) |
重量 Weight (kg) |
||||
| b | C1 | C2 | h | Φ | ||||
| W-7A | 16 | 19.2 | 34.5 | 70 | 20 | 16 | 70 | 0.80 |
| W-7B | 16 | 19.2 | 34.5 | 115 | 20 | 16 | 70 | 0.92 |
| W1-10 | 18 | 19.2 | 34.5 | 85 | 20 | 16 | 100 | 0.90 |
| W1-12 | 20 | 19.2 | 34.5 | 90 | 24 | 16 | 120 | 1.30 |
| W-12 | 20 | 23 | 42.5 | 90 | 24 | 20 | 120 | 1.40 |
| W-30 | 32 | 27.5 | 51.0 | 110 | 39 | 24 | 300 | 3.50 |
碗头挂板为可锻铸铁件或铸钢件,弹簧销为青铜件或不锈钢件,闭口销为不锈钢件,钢铁制件热镀锌。









